Black Mamba
Fahrer
- Registriert
- 17 Dezember 2004
- Wagen
- anderer Wagen
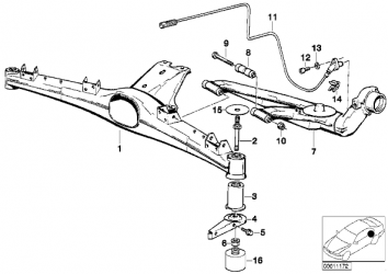
AW: Querlenkerlager hat Spiel
Was halten die Profis von folgende Teilen?
Fritz Motorsport - Tuning-, Motorsport- und Zubehörteile, Powerflex, Mongoose
Was halten die Profis von folgende Teilen?
Fritz Motorsport - Tuning-, Motorsport- und Zubehörteile, Powerflex, Mongoose
?
nur von feinsten

.
............ ). Außerdem, so der Meister, hat BMW die Stützlager 2002 überarbeitet und verbessert/ verstärkt.